OEM ЗАПЧАСТИ

  info@automotohub.ru   8 (916) 294-84-77
  О Компании   Оплата и Доставка   Помощь   Обратная связь

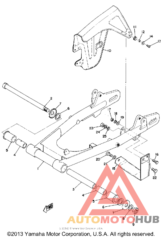
Rear arm & chain case

для Yamaha RT1M
Yamaha
Rear arm & chain case
#кодцена
1
275-22110-00-33
Задний рычаг и подвеска
узнать
цену
узнать цену
2узнать
цену
узнать цену
3
903-87161-28-00
Деталь Collar (150-22126-00)
150-22126-00
узнать
цену
узнать цену
4
903-87162-26-00
Деталь Collar (150-22124-00)
150-22124-00
узнать
цену
узнать цену
5
903-86220-18-00
Деталь Bush, Spec''l Nylon (148-22123-
148-22123-
узнать
цену
узнать цену
6
240-22127-00-00
Деталь Shim (0.3T)
Shim,rear arm (26-34-0.1) 0.3T
узнать
цену
узнать цену
7
1A0-22128-00-00
Крышка
узнать
цену
узнать цену
8
92907-14100-00
Шайба
узнать
цену
узнать цену
8
92901-14100-00
Шайба
6TC
узнать
цену
узнать цену
9
95337-14600-00
Гайка
узнать
цену
узнать цену
9
95312-14600-00
Гайка
узнать
цену
узнать цену
10
214-22311-00-35
Кожух цепи
узнать
цену
узнать цену
11
904-80120-96-00
Деталь Grommet (141-82596-00)
141-82596-00
узнать
цену
узнать цену
12
90560-05001-00
Кольцо/шайба
узнать
цену
узнать цену
13узнать
цену
узнать цену
13узнать
цену
узнать цену
14
90201-06M08-00
Шайба
узнать
цену
узнать цену
15
214-22318-01-33
Утешитель
узнать
цену
узнать цену
16узнать
цену
узнать цену
16
97011-06020-00
Деталь P57 Bolt (1Lv)
узнать
цену
узнать цену
17
95380-06600-00
Гайка
узнать
цену
узнать цену
18
92995-06100-00
Шайба
узнать
цену
узнать цену
19
92990-06200-00
Шайба
узнать
цену
узнать цену
20
90101-08691-00
Деталь Bolt(Ja9)
узнать
цену
узнать цену
20узнать
цену
узнать цену
21
92990-08100-00
Шайба
узнать
цену
узнать цену
22узнать
цену
узнать цену
22
97001-08025-00
Деталь Bolt (1Nv)
узнать
цену
узнать цену
23
997-80086-00-00
Деталь Nut, Hex
узнать
цену
узнать цену
23
95333-08600-00
Гайка
узнать
цену
узнать цену
24
92990-08100-00
Шайба
узнать
цену
узнать цену
25
92990-08200-00
Шайба
узнать
цену
узнать цену
{modalWnd}