OEM ЗАПЧАСТИ

  info@automotohub.ru   8 (916) 294-84-77
  О Компании   Оплата и Доставка   Помощь   Обратная связь

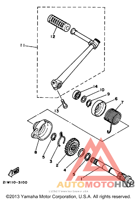
Стартер

для Yamaha PW80K Zinger
Yamaha
Стартер
{modalWnd}