OEM ЗАПЧАСТИ

  info@automotohub.ru   8 (916) 294-84-77
  О Компании   Оплата и Доставка   Помощь   Обратная связь

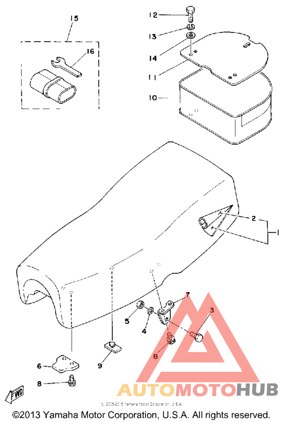
Сиденье

для Yamaha IT250F
Yamaha
Сиденье
#кодцена
1
2X7-W2473-00-00
Деталь Semi-Dbl-Seat Assembly
узнать
цену
узнать цену
2
2K8-24771-00-00
Деталь Cover, Sm-Dbl Seat
узнать
цену
узнать цену
3
97014-06035-00
Болт шестиугольный
узнать
цену
узнать цену
3узнать
цену
узнать цену
4
92990-06200-00
Шайба
узнать
цену
узнать цену
5
95617-06100-00
Гайка U
узнать
цену
узнать цену
5
95601-06100-00
Гайка U
узнать
цену
узнать цену
6
1M1-24748-00-00
Крепеж
узнать
цену
узнать цену
7
1W1-24738-00-00
Кронштейн сидения
узнать
цену
узнать цену
8узнать
цену
узнать цену
9
509-24724-00-00
Отбойник
узнать
цену
узнать цену
10
1W2-24850-01-00
Деталь Carrier Box Assembly
узнать
цену
узнать цену
11
1W2-24833-01-00
Деталь Bracket, Carrier 2
узнать
цену
узнать цену
12узнать
цену
узнать цену
12узнать
цену
узнать цену
13
92995-06100-00
Шайба
узнать
цену
узнать цену
14
90201-06020-00
Шайба
узнать
цену
узнать цену
14
90201-06380-00
Шайба
узнать
цену
узнать цену
14
90201-06067-00
Шайба
узнать
цену
узнать цену
15
1W2-W2810-00-00
Комплект инструментов
узнать
цену
узнать цену
16
10V-28135-00-00
Деталь Spanner, Special
узнать
цену
узнать цену
{modalWnd}