OEM ЗАПЧАСТИ

  info@automotohub.ru   8 (916) 294-84-77
  О Компании   Оплата и Доставка   Помощь   Обратная связь

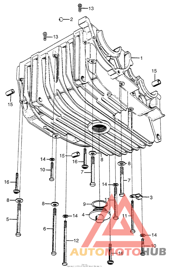
Lower crankcase

для Honda CL350 CL350
Honda
Lower crankcase
{modalWnd}