OEM ЗАПЧАСТИ

  info@automotohub.ru   8 (916) 294-84-77
  О Компании   Оплата и Доставка   Помощь   Обратная связь

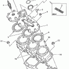
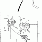
VMAX 700 SX-VX700SXBC/VX600SXBC (1999)

VMAX 700 SX-VX700SXBC/VX600SXBC (1999)
Выбирайте узел вашей техники:


{modalWnd}