OEM ЗАПЧАСТИ

  info@automotohub.ru   8 (916) 294-84-77
  О Компании   Оплата и Доставка   Помощь   Обратная связь

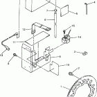
VMAX 600 XTC (REVERSE)-VX600XTCRA/VX500 (1997)

VMAX 600 XTC (REVERSE)-VX600XTCRA/VX500 (1997)
{modalWnd}