OEM ЗАПЧАСТИ

  info@automotohub.ru   8 (916) 294-84-77
  О Компании   Оплата и Доставка   Помощь   Обратная связь

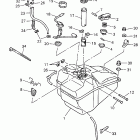
VMAX-4 MOUNTAIN MAX -VX 800ST (1996)

VMAX-4 MOUNTAIN MAX -VX 800ST (1996)
{modalWnd}