OEM ЗАПЧАСТИ

  info@automotohub.ru   8 (916) 294-84-77
  О Компании   Оплата и Доставка   Помощь   Обратная связь

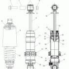
800 SWITCHBACK/ES - S13BR8GSA/GSL (2013)

800 SWITCHBACK/ES - S13BR8GSA/GSL (2013)
Выбирайте узел вашей техники:


{modalWnd}