OEM ЗАПЧАСТИ

  info@automotohub.ru   8 (916) 294-84-77
  О Компании   Оплата и Доставка   Помощь   Обратная связь

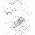
TURBO SWITCHBACK-S09PR7FS/FE (2009)

TURBO SWITCHBACK-S09PR7FS/FE (2009)
Выбирайте узел вашей техники:


{modalWnd}