OEM ЗАПЧАСТИ

  info@automotohub.ru   8 (916) 294-84-77
  О Компании   Оплата и Доставка   Помощь   Обратная связь

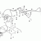
Bearcat Z1 XT GS (S2012BCNWGUSO) Orange (2012)

Bearcat Z1 XT GS (S2012BCNWGUSO) Orange (2012)
Выбирайте узел вашей техники:


{modalWnd}