OEM ЗАПЧАСТИ

  info@automotohub.ru   8 (916) 294-84-77
  О Компании   Оплата и Доставка   Помощь   Обратная связь

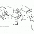
BAG-3813 BA GRASS CATCHER FOR HT3810K1-K2 AND HT3813-K1, JPN, VIN# GB3-0000001 (Все)

BAG-3813 BA GRASS CATCHER FOR HT3810K1-K2 AND HT3813-K1, JPN, VIN# GB3-0000001 (Все)
Выбирайте узел вашей техники:


{modalWnd}