OEM ЗАПЧАСТИ

  info@automotohub.ru   8 (916) 294-84-77
  О Компании   Оплата и Доставка   Помощь   Обратная связь

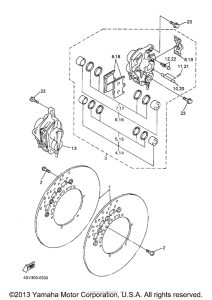
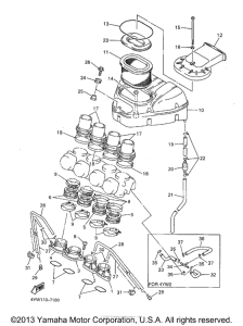
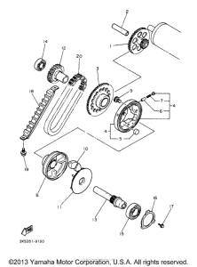
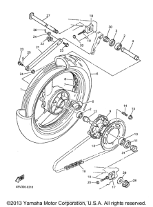
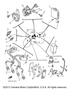
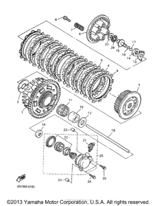
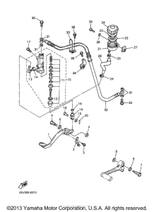
Запчасти для мотоциклов Yamaha YZF1000RJC Thunderace

Год: 1997  •  Код модели: 4YW2  •  Объем двигателя: 1000
Запчасти для мотоциклов Yamaha YZF1000RJC Thunderace
{modalWnd}