OEM ЗАПЧАСТИ

  info@automotohub.ru   8 (916) 294-84-77
  О Компании   Оплата и Доставка   Помощь   Обратная связь

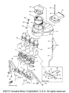
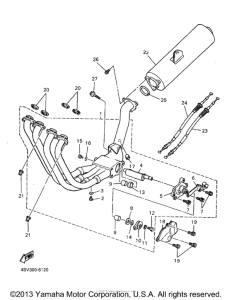
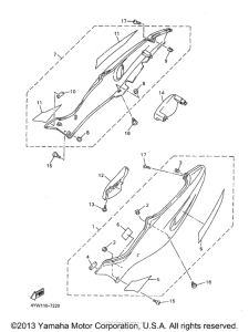
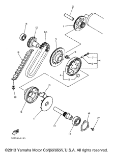
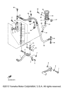
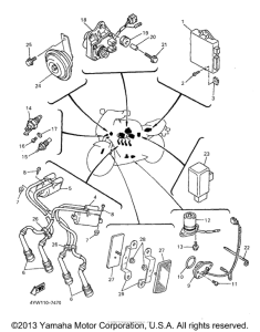
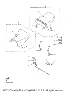
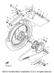
Запчасти для мотоциклов Yamaha YZF1000RJ Thunderace

Год: 1997  •  Код модели: 4YW1  •  Объем двигателя: 1000
Запчасти для мотоциклов Yamaha YZF1000RJ Thunderace
{modalWnd}