OEM ЗАПЧАСТИ

  info@automotohub.ru   8 (916) 294-84-77
  О Компании   Оплата и Доставка   Помощь   Обратная связь

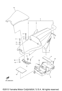
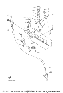
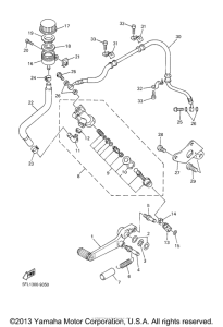
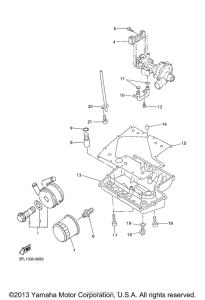
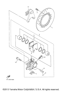
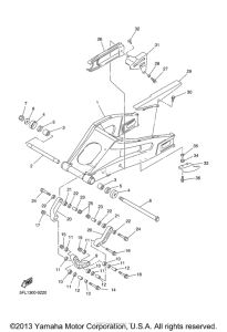
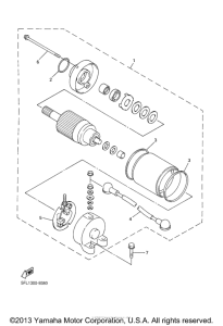
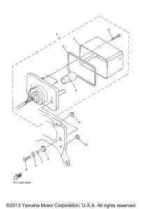
Запчасти для мотоциклов Yamaha YZFR7L R7

Год: 1999  •  Код модели: 5FL1  •  Объем двигателя: 750
Запчасти для мотоциклов Yamaha YZFR7L R7
{modalWnd}