OEM ЗАПЧАСТИ

  info@automotohub.ru   8 (916) 294-84-77
  О Компании   Оплата и Доставка   Помощь   Обратная связь

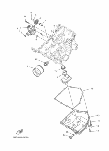
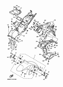
Запчасти для мотоциклов Yamaha YZF-R3

Год: 2017  •  Код модели: 2MS6  •  Объем двигателя: 300
Запчасти для мотоциклов Yamaha YZF-R3
{modalWnd}