OEM ЗАПЧАСТИ

  info@automotohub.ru   8 (916) 294-84-77
  О Компании   Оплата и Доставка   Помощь   Обратная связь

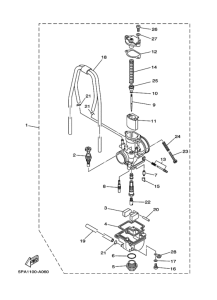
Запчасти для мотоциклов Yamaha YZ85

Год: 2002  •  Код модели: 5PA3  •  Объем двигателя: 85
Запчасти для мотоциклов Yamaha YZ85
{modalWnd}