OEM ЗАПЧАСТИ

  info@automotohub.ru   8 (916) 294-84-77
  О Компании   Оплата и Доставка   Помощь   Обратная связь

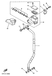
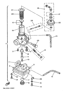
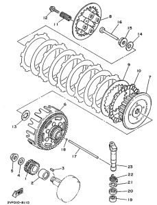
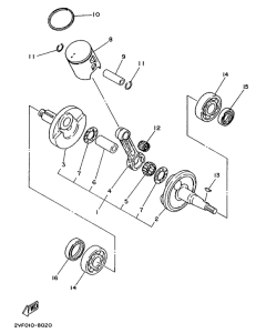
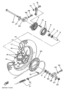
Запчасти для мотоциклов Yamaha YZ80B

Год: 1991  •  Код модели: 3MK3  •  Объем двигателя: 80
Запчасти для мотоциклов Yamaha YZ80B
{modalWnd}