OEM ЗАПЧАСТИ

  info@automotohub.ru   8 (916) 294-84-77
  О Компании   Оплата и Доставка   Помощь   Обратная связь

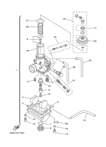
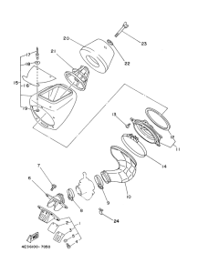
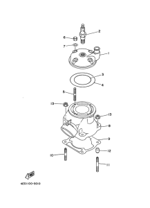
Запчасти для мотоциклов Yamaha YZ80LW

Год: 2001  •  Код модели: 4LCA  •  Объем двигателя: 80
Запчасти для мотоциклов Yamaha YZ80LW
Выбирайте узел вашей техники:


{modalWnd}