OEM ЗАПЧАСТИ

  info@automotohub.ru   8 (916) 294-84-77
  О Компании   Оплата и Доставка   Помощь   Обратная связь

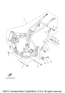
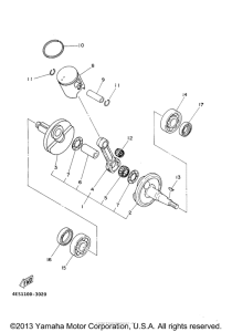
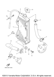
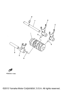
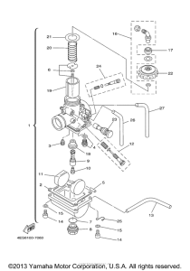
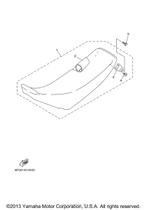
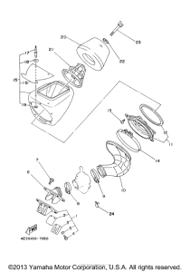
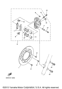
Запчасти для мотоциклов Yamaha YZ80N1 (Competition)

Год: 2001  •  Объем двигателя: 80
Запчасти для мотоциклов Yamaha YZ80N1 (Competition)
Выбирайте узел вашей техники:


{modalWnd}