OEM ЗАПЧАСТИ

  info@automotohub.ru   8 (916) 294-84-77
  О Компании   Оплата и Доставка   Помощь   Обратная связь

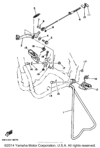
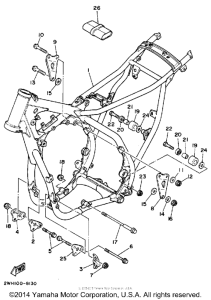
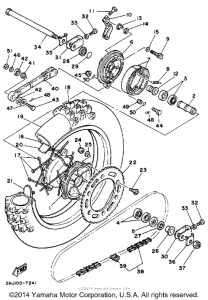
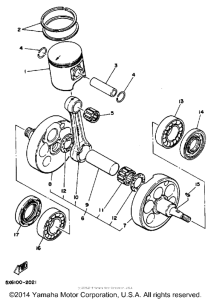
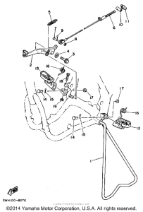
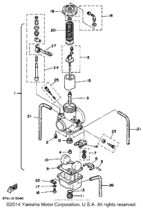
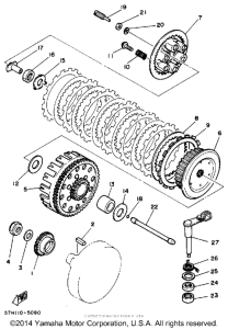
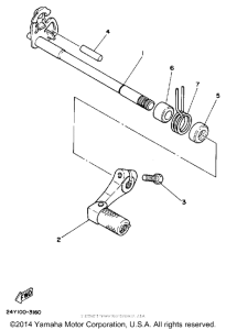
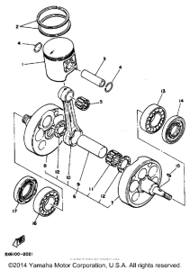
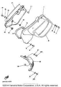
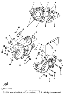
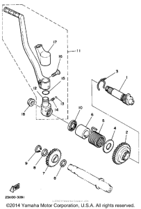
Запчасти для мотоциклов Yamaha YZ490U Motocross

Год: 1988  •  Объем двигателя: 490
Запчасти для мотоциклов Yamaha YZ490U Motocross
{modalWnd}