OEM ЗАПЧАСТИ

  info@automotohub.ru   8 (916) 294-84-77
  О Компании   Оплата и Доставка   Помощь   Обратная связь

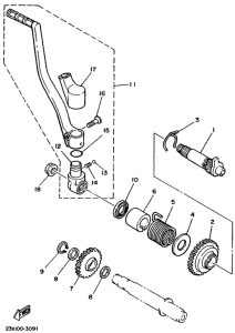
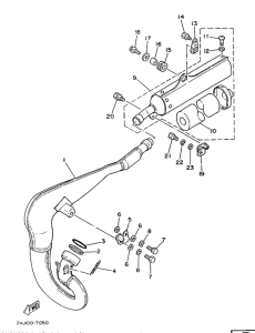
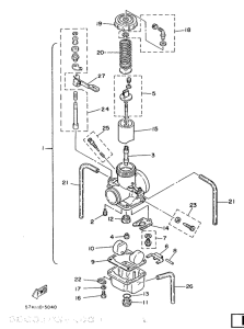
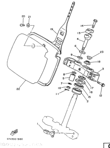
Запчасти для мотоциклов Yamaha YZ490

Год: 1987  •  Код модели: 2HJ  •  Объем двигателя: 490
Запчасти для мотоциклов Yamaha YZ490
{modalWnd}