OEM ЗАПЧАСТИ

  info@automotohub.ru   8 (916) 294-84-77
  О Компании   Оплата и Доставка   Помощь   Обратная связь

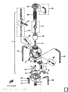
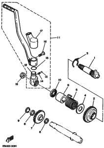
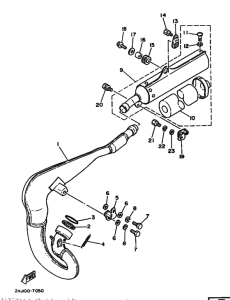
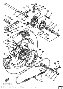
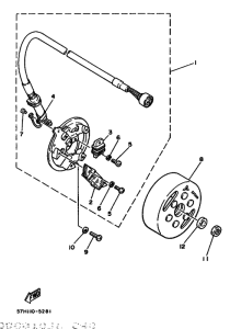
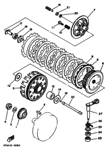
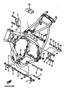
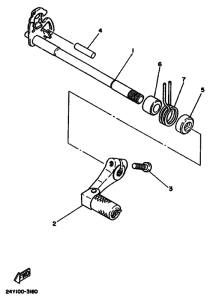
Запчасти для мотоциклов Yamaha YZ490 YZ490U

Год: 1988  •  Код модели: 2WH0  •  Объем двигателя: 490
Запчасти для мотоциклов Yamaha YZ490 YZ490U
{modalWnd}