OEM ЗАПЧАСТИ

  info@automotohub.ru   8 (916) 294-84-77
  О Компании   Оплата и Доставка   Помощь   Обратная связь

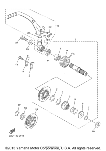
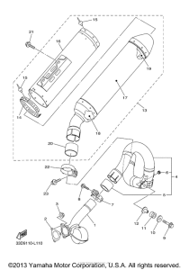
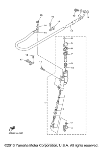
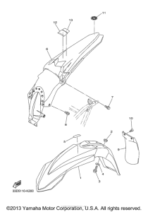
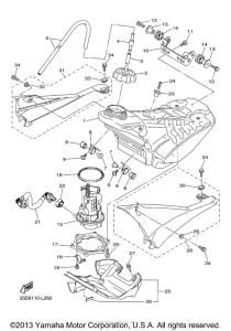
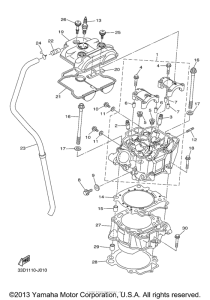
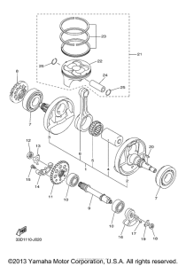
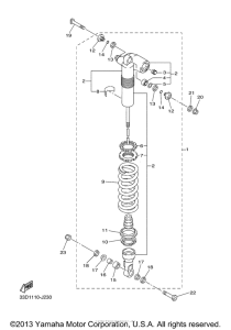
Запчасти для мотоциклов Yamaha YZ450FDW

Год: 2013  •  Объем двигателя: 450
Запчасти для мотоциклов Yamaha YZ450FDW
{modalWnd}