OEM ЗАПЧАСТИ

  info@automotohub.ru   8 (916) 294-84-77
  О Компании   Оплата и Доставка   Помощь   Обратная связь

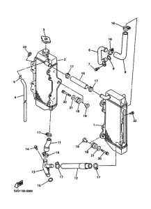
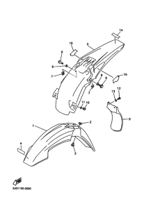
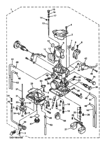
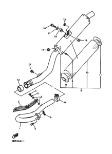
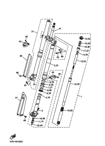
Запчасти для мотоциклов Yamaha YZ426F YZ426FM

Год: 2000  •  Код модели: 5JG4  •  Объем двигателя: 426
Запчасти для мотоциклов Yamaha YZ426F YZ426FM
{modalWnd}