OEM ЗАПЧАСТИ

  info@automotohub.ru   8 (916) 294-84-77
  О Компании   Оплата и Доставка   Помощь   Обратная связь

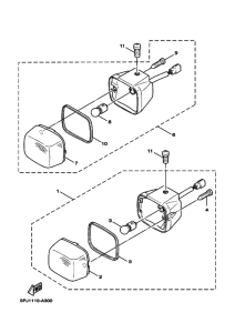
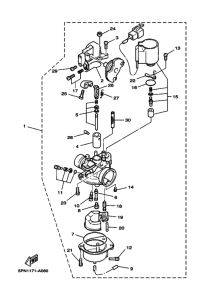
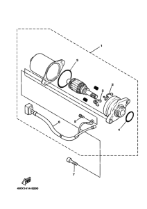
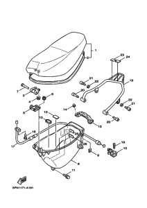
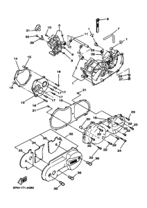
Запчасти для мотоциклов Yamaha YW50 BW'S

Год: 2004  •  Код модели: 5PN3  •  Объем двигателя: 50
Запчасти для мотоциклов Yamaha YW50 BW'S
Выбирайте узел вашей техники:


{modalWnd}