OEM ЗАПЧАСТИ

  info@automotohub.ru   8 (916) 294-84-77
  О Компании   Оплата и Доставка   Помощь   Обратная связь

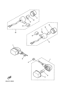
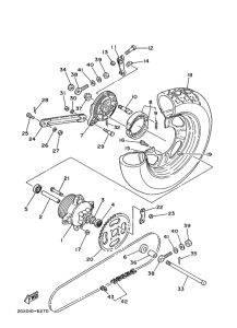
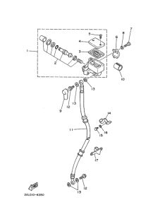
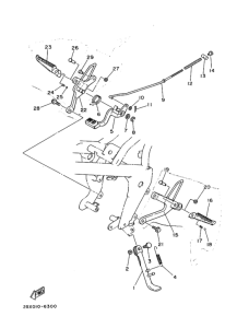
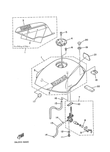
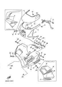
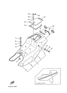
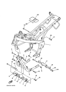
Запчасти для мотоциклов Yamaha YSR80

Год: 1986  •  Код модели: 2GX0  •  Объем двигателя: 80
Запчасти для мотоциклов Yamaha YSR80
Выбирайте узел вашей техники:


{modalWnd}