OEM ЗАПЧАСТИ

  info@automotohub.ru   8 (916) 294-84-77
  О Компании   Оплата и Доставка   Помощь   Обратная связь

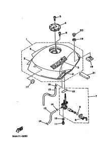
Запчасти для мотоциклов Yamaha YSR80 YSR80A

Год: 1990  •  Код модели: 3VU1  •  Объем двигателя: 80
Запчасти для мотоциклов Yamaha YSR80 YSR80A
Выбирайте узел вашей техники:


{modalWnd}