OEM ЗАПЧАСТИ

  info@automotohub.ru   8 (916) 294-84-77
  О Компании   Оплата и Доставка   Помощь   Обратная связь

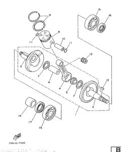
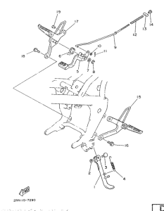
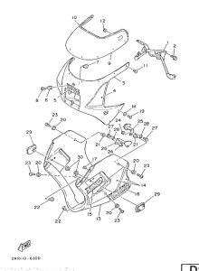
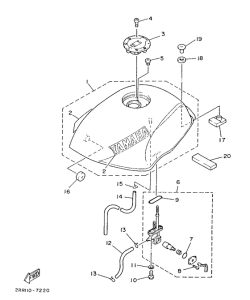
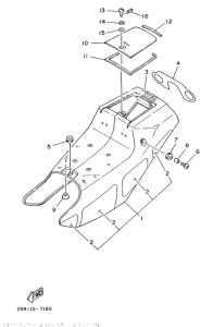
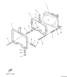
Запчасти для мотоциклов Yamaha YSR50

Год: 1987  •  Код модели: 2RR  •  Объем двигателя: 50
Запчасти для мотоциклов Yamaha YSR50
{modalWnd}