OEM ЗАПЧАСТИ

  info@automotohub.ru   8 (916) 294-84-77
  О Компании   Оплата и Доставка   Помощь   Обратная связь

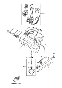
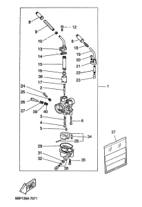
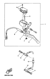
Запчасти для мотоциклов Yamaha YQ50 Aerox

Год: 1999  •  Код модели: 5HEL  •  Объем двигателя: 50
Запчасти для мотоциклов Yamaha YQ50 Aerox
Выбирайте узел вашей техники:


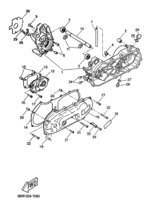
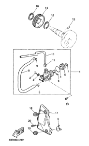
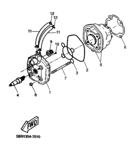
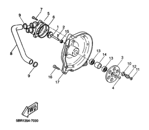
{modalWnd}