OEM ЗАПЧАСТИ

  info@automotohub.ru   8 (916) 294-84-77
  О Компании   Оплата и Доставка   Помощь   Обратная связь

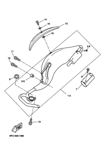
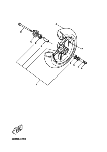
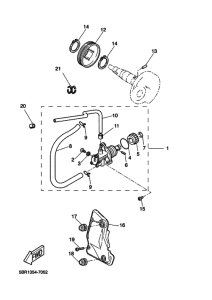
Запчасти для мотоциклов Yamaha YQ50 Nitro

Год: 2002  •  Код модели: 5PU4  •  Объем двигателя: 50
Запчасти для мотоциклов Yamaha YQ50 Nitro
Выбирайте узел вашей техники:


{modalWnd}