OEM ЗАПЧАСТИ

  info@automotohub.ru   8 (916) 294-84-77
  О Компании   Оплата и Доставка   Помощь   Обратная связь

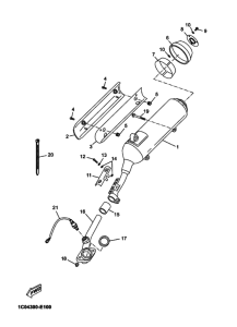
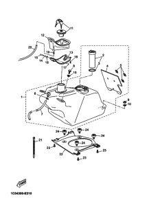
Запчасти для мотоциклов Yamaha YP250R X-MAX

Год: 2009  •  Код модели: 1C07  •  Объем двигателя: 250
Запчасти для мотоциклов Yamaha YP250R X-MAX
Выбирайте узел вашей техники:


{modalWnd}