OEM ЗАПЧАСТИ

  info@automotohub.ru   8 (916) 294-84-77
  О Компании   Оплата и Доставка   Помощь   Обратная связь

Запчасти для мотоциклов Yamaha YP250A Majesty

Год: 1999  •  Код модели: 5DF4  •  Объем двигателя: 250
Запчасти для мотоциклов Yamaha YP250A Majesty
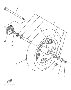
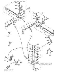
Выбирайте узел вашей техники:


{modalWnd}