OEM ЗАПЧАСТИ

  info@automotohub.ru   8 (916) 294-84-77
  О Компании   Оплата и Доставка   Помощь   Обратная связь

Карбюратор

для Yamaha YN50R NEO'S
Yamaha
Карбюратор
Карбюратор
#кодцена
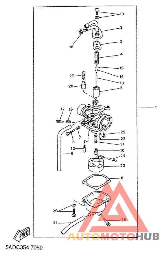
01
5BW-14301-10-00
Карбюратор
узнать
цену
узнать цену
02
999-99999-99-00
Деталь Not Available
узнать
цену
узнать цену
02
5AD-14369-00-00
Деталь Diaphragm Assy 2
узнать
цену
узнать цену
03
1YU-14126-00-00
Прокладка
узнать
цену
узнать цену
04
1YU-14331-00-00
Пружина клапана
узнать
цену
узнать цену
05
5AD-14312-30-00
Клапан дросселя 1
узнать
цену
узнать цену
06
1YU-14384-00-00
Прокладка камеры
узнать
цену
узнать цену
07
999-99999-99-00
Деталь Not Available
узнать
цену
узнать цену
07
14T-14337-00-00
Деталь Air Jet, Main
узнать
цену
узнать цену
08
1YU-14103-00-00
Винт дросселя в сборе
узнать
цену
узнать цену
08
367-14211-00-00
Деталь Screw, Pilot Adjusting
узнать
цену
узнать цену
09
5AD-14197-00-00
Трубка
узнать
цену
узнать цену
10
14T-14343-34-00
Деталь Jet, Main (# 68)
узнать
цену
узнать цену
11
14T-14341-01-00
Распылитель главный
узнать
цену
узнать цену
11
14T-14341-00-00
Распылитель главный
узнать
цену
узнать цену
12
1YU-14353-25-00
Жиклерпроводник
Jet, pilot ( 50)
узнать
цену
узнать цену
13
5BW-1490J-00-00
Отсутствующе
узнать
цену
узнать цену
13
5BW-14336-00-00
Отсутствующе
узнать
цену
узнать цену
14
2T4-14137-00-00
Зажим
узнать
цену
узнать цену
15
2T4-14136-00-00
Тарелка пружины
узнать
цену
узнать цену
16
999-99999-99-00
Деталь Not Available
узнать
цену
узнать цену
16
14T-14212-00-00
Деталь Spring, Pilot Adjusting
узнать
цену
узнать цену
17узнать
цену
узнать цену
17узнать
цену
узнать цену
18
85L-14161-00-00
Гайка кабеля
узнать
цену
узнать цену
18
288-14161-00-00
Гайка кабеля
узнать
цену
узнать цену
19
999-99999-99-00
Деталь Not Available
узнать
цену
узнать цену
19узнать
цену
узнать цену
20узнать
цену
узнать цену
20узнать
цену
узнать цену
21
5AD-14349-00-00
Трубка
узнать
цену
узнать цену
22
2JA-14392-00-00
Клапан
узнать
цену
узнать цену
23
1YU-14385-00-00
Поплавок
узнать
цену
узнать цену
24
14T-14386-00-00
Штифт плавающий
узнать
цену
узнать цену
24
1YU-14386-00-00
Штифт плавающий
узнать
цену
узнать цену
25узнать
цену
узнать цену
25узнать
цену
узнать цену
26узнать
цену
узнать цену
26узнать
цену
узнать цену
27
1YU-14335-00-00
Пружина распылителя
узнать
цену
узнать цену
28
1YU-14371-00-00
Плунжерстартер
узнать
цену
узнать цену
{modalWnd}