OEM ЗАПЧАСТИ

  info@automotohub.ru   8 (916) 294-84-77
  О Компании   Оплата и Доставка   Помощь   Обратная связь

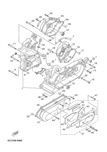
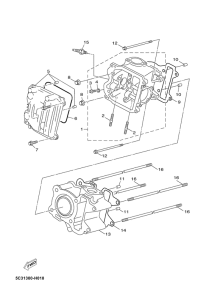
Запчасти для мотоциклов Yamaha YN50F NEO'S 4ST

Год: 2009  •  Код модели: 5C31  •  Объем двигателя: 50
Запчасти для мотоциклов Yamaha YN50F NEO'S 4ST
{modalWnd}