OEM ЗАПЧАСТИ

  info@automotohub.ru   8 (916) 294-84-77
  О Компании   Оплата и Доставка   Помощь   Обратная связь

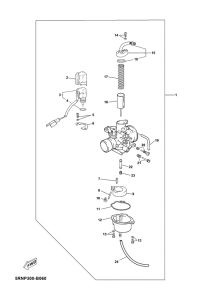
Запчасти для мотоциклов Yamaha YN50 NEO'S

Год: 2003  •  Код модели: 5RNU  •  Объем двигателя: 50
Запчасти для мотоциклов Yamaha YN50 NEO'S
{modalWnd}