OEM ЗАПЧАСТИ

  info@automotohub.ru   8 (916) 294-84-77
  О Компании   Оплата и Доставка   Помощь   Обратная связь

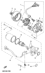
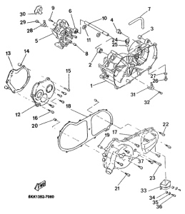
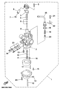
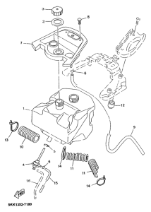
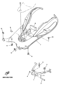
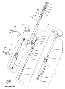
Запчасти для мотоциклов Yamaha YN100 NEO'S 100

Год: 1999  •  Код модели: 5KK1  •  Объем двигателя: 100
Запчасти для мотоциклов Yamaha YN100 NEO'S 100
{modalWnd}