OEM ЗАПЧАСТИ

  info@automotohub.ru   8 (916) 294-84-77
  О Компании   Оплата и Доставка   Помощь   Обратная связь

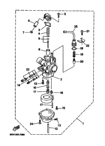
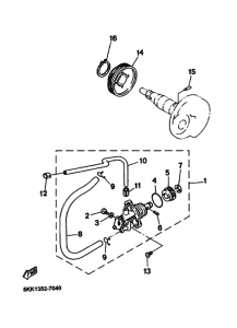
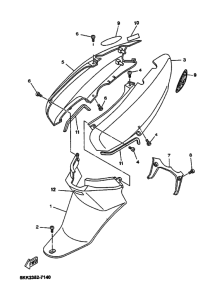
Запчасти для мотоциклов Yamaha YN100 OVETTO 100

Год: 2001  •  Код модели: 5KKH  •  Объем двигателя: 100
Запчасти для мотоциклов Yamaha YN100 OVETTO 100
{modalWnd}