OEM ЗАПЧАСТИ

  info@automotohub.ru   8 (916) 294-84-77
  О Компании   Оплата и Доставка   Помощь   Обратная связь

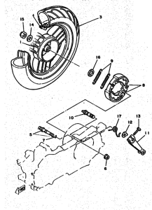
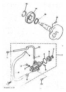
Запчасти для мотоциклов Yamaha YM50 Fizz

Год: 1995  •  Код модели: 4SY1  •  Объем двигателя: 50
Запчасти для мотоциклов Yamaha YM50 Fizz
{modalWnd}