OEM ЗАПЧАСТИ

  info@automotohub.ru   8 (916) 294-84-77
  О Компании   Оплата и Доставка   Помощь   Обратная связь

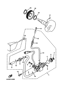
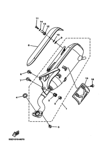
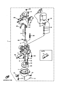
Запчасти для мотоциклов Yamaha YJ50 Jog Aprio

Год: 1996  •  Код модели: 4JP6  •  Объем двигателя: 50
Запчасти для мотоциклов Yamaha YJ50 Jog Aprio
Выбирайте узел вашей техники:


{modalWnd}