OEM ЗАПЧАСТИ

  info@automotohub.ru   8 (916) 294-84-77
  О Компании   Оплата и Доставка   Помощь   Обратная связь

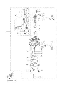
Запчасти для мотоциклов Yamaha YH50 Why

Год: 2004  •  Код модели: 5UB3  •  Объем двигателя: 50
Запчасти для мотоциклов Yamaha YH50 Why
{modalWnd}