OEM ЗАПЧАСТИ

  info@automotohub.ru   8 (916) 294-84-77
  О Компании   Оплата и Доставка   Помощь   Обратная связь

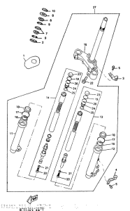
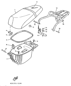
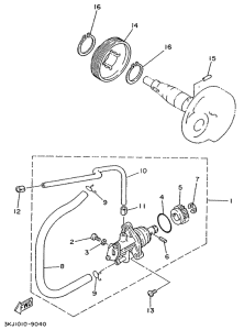
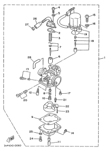
Запчасти для мотоциклов Yamaha YE50 Zest 50

Год: 1992  •  Код модели: 4EE1  •  Объем двигателя: 50
Запчасти для мотоциклов Yamaha YE50 Zest 50
{modalWnd}