OEM ЗАПЧАСТИ

  info@automotohub.ru   8 (916) 294-84-77
  О Компании   Оплата и Доставка   Помощь   Обратная связь

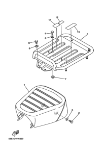
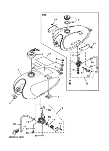
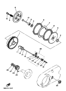
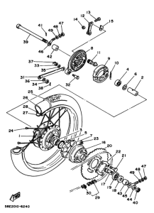
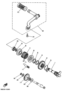
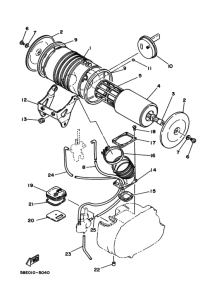
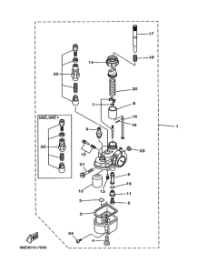
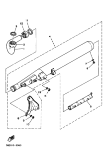
Запчасти для мотоциклов Yamaha YB50 YB50

Год: 1985  •  Код модели: 58E  •  Объем двигателя: 50
Запчасти для мотоциклов Yamaha YB50 YB50
{modalWnd}