OEM ЗАПЧАСТИ

  info@automotohub.ru   8 (916) 294-84-77
  О Компании   Оплата и Доставка   Помощь   Обратная связь

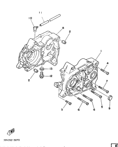
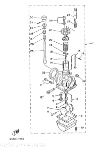
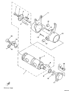
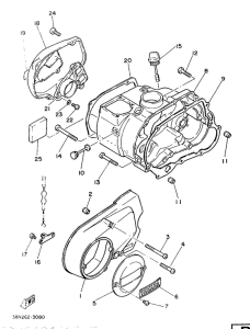
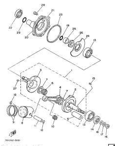
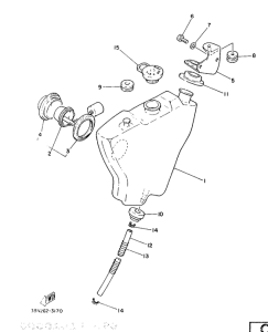
Запчасти для мотоциклов Yamaha YB100

Год: 1987  •  Код модели: 18N  •  Объем двигателя: 100
Запчасти для мотоциклов Yamaha YB100
{modalWnd}