OEM ЗАПЧАСТИ

  info@automotohub.ru   8 (916) 294-84-77
  О Компании   Оплата и Доставка   Помощь   Обратная связь

Запчасти для мотоциклов Yamaha YA100 Grand Axis 100

Год: 1998  •  Код модели: 5FA1  •  Объем двигателя: 100
Запчасти для мотоциклов Yamaha YA100 Grand Axis 100
Выбирайте узел вашей техники:


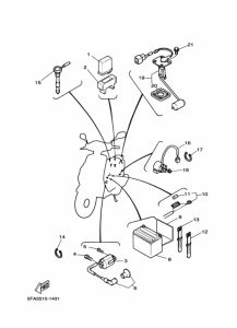
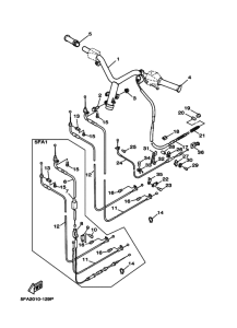
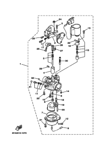
{modalWnd}