OEM ЗАПЧАСТИ

  info@automotohub.ru   8 (916) 294-84-77
  О Компании   Оплата и Доставка   Помощь   Обратная связь

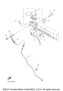
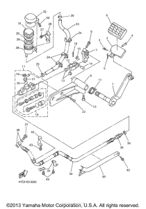
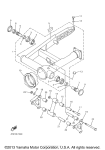
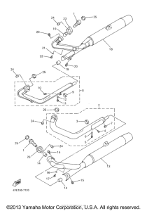
Запчасти для мотоциклов Yamaha XVZ1300LTM Royal Star Tour Deluxe

Год: 2000  •  Объем двигателя: 1300
Запчасти для мотоциклов Yamaha XVZ1300LTM Royal Star Tour Deluxe
Выбирайте узел вашей техники:


{modalWnd}