OEM ЗАПЧАСТИ

  info@automotohub.ru   8 (916) 294-84-77
  О Компании   Оплата и Доставка   Помощь   Обратная связь

Запчасти для мотоциклов Yamaha XVZ1300ATM Royal Star Tour Classic

Год: 2000  •  Объем двигателя: 1300
Запчасти для мотоциклов Yamaha XVZ1300ATM Royal Star Tour Classic
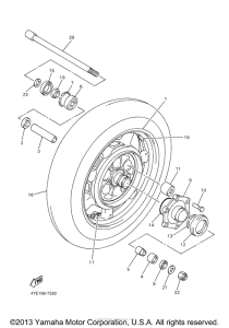
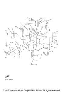
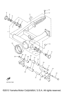
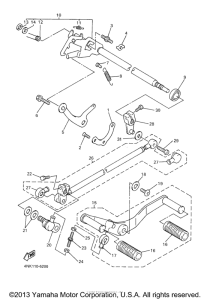
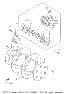
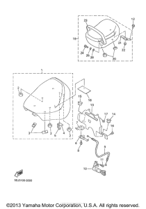
Выбирайте узел вашей техники:


{modalWnd}