OEM ЗАПЧАСТИ

  info@automotohub.ru   8 (916) 294-84-77
  О Компании   Оплата и Доставка   Помощь   Обратная связь

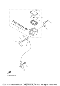
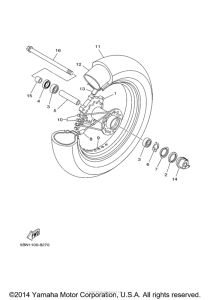
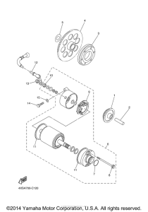
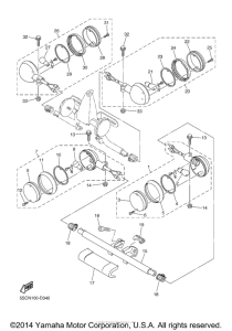
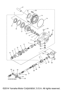
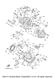
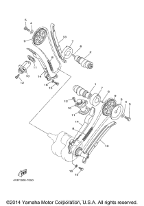
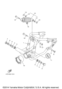
Запчасти для мотоциклов Yamaha XVS650A V-Star Classic

Год: 2009  •  Код модели: 4C5T  •  Объем двигателя: 650
Запчасти для мотоциклов Yamaha XVS650A V-Star Classic
{modalWnd}