OEM ЗАПЧАСТИ

  info@automotohub.ru   8 (916) 294-84-77
  О Компании   Оплата и Доставка   Помощь   Обратная связь

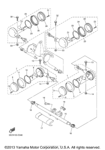
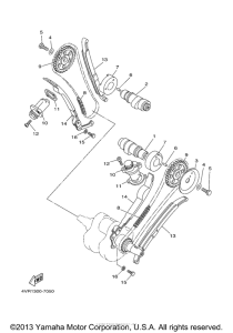
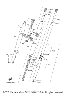
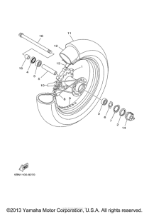
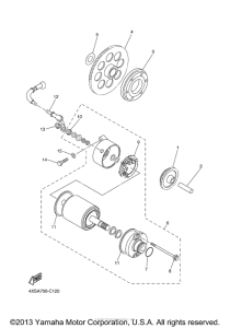
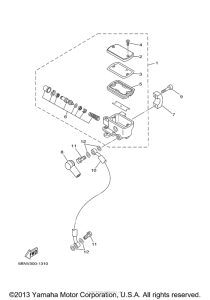
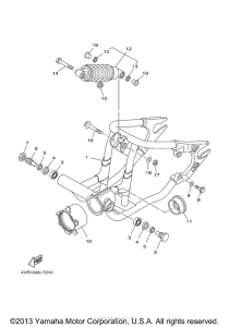
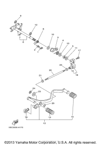
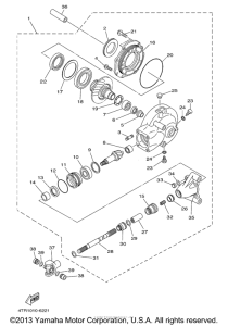
Запчасти для мотоциклов Yamaha XVS650AT V-Star Silverado

Год: 2005  •  Код модели: 5SCU  •  Объем двигателя: 650
Запчасти для мотоциклов Yamaha XVS650AT V-Star Silverado
{modalWnd}