OEM ЗАПЧАСТИ

  info@automotohub.ru   8 (916) 294-84-77
  О Компании   Оплата и Доставка   Помощь   Обратная связь

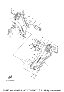
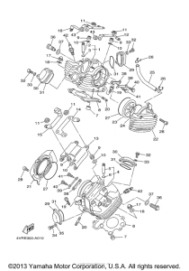
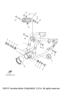
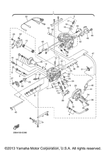
Запчасти для мотоциклов Yamaha XVS650A V-Star Classic

Год: 2008  •  Код модели: 4C5H  •  Объем двигателя: 650
Запчасти для мотоциклов Yamaha XVS650A V-Star Classic
{modalWnd}