OEM ЗАПЧАСТИ

  info@automotohub.ru   8 (916) 294-84-77
  О Компании   Оплата и Доставка   Помощь   Обратная связь

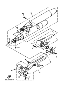
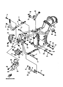
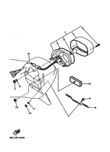
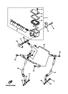
Запчасти для мотоциклов Yamaha XVS1100 Drag Star

Год: 1999  •  Код модели: 5EL4  •  Объем двигателя: 1100
Запчасти для мотоциклов Yamaha XVS1100 Drag Star
Выбирайте узел вашей техники:


{modalWnd}